- Описание
- Характеристики
- Вопросы
- Отзывы (1)
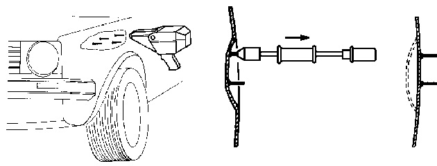
Установка точечной сварки (споттер) TECNA 7630 производства компании TECNA (Италия) предназначена для односторонней контактной точечной сварки встык к листу металла различных крепёжных элементов: шпилек, болтов, шайб, заклёпок, локального нагрева металла специальным электродом, выправления вмятин на деталях кузова автомобиля с помощью ударной насадки.
Установка может опционально укомплектовываться таймером сварки и поставляться как в картонной упаковке, так и в пластиковом кейсе с набором расходных материалов.
Установка точечной сварки (споттер) TECNA 7630 содержит:
- встроенный источник тока;
- воздушное охлаждение.
В комплект поставки установки точечной сварки TECNA 7630 входит:
- ударная насадка;
- электрод диаметром 2,5 для приваривания гвоздей;
- электрод диаметром 4 для приваривания болтов;
- магнитный электрод для приваривания заклепок;
- электрод для приваривания шайб;
- расходные материалы.
По специальному заказу дополнительно для установки точечной сварки TECNA 7630 поставляется:
- вспомогательные инструменты;
- расходные материалы.
Установка в стандартной комплектации поставляется без таймера. По запросу клиента поставляется версия установки с таймером. Опционально споттер поставляется в пластиковом кейсе с набором расходных материалов.
|
|
|
| Выпрямление панелей автомобиля | Приварка крепежа шумо-, термо-, вибро-изоляции | Приварка заклепок и шпилек |
Москва
Уважаемые клиенты! Мы являемся официальными дистрибьюторами продукции TECNA на территории России. Вы можете задать вопрос специалисту или оставить отзыв о товаре. Нам важно знать ваше мнение.
Показано
1 из 1 результатов
